当前位置 : 首页 > 市场合作 > 企业产品及解决方案 > 应用软件市场合作
Market cooperation企业名称:中卫君康科技(天津)有限公司
联系人:郭红亮
职务:总经理
手机:13820776315
产品类型:应用软件
企业简介:
中卫君康科技(天津)有限公司,成立于2024年,是一家在天开园注册的提供一站式医疗信息化服务企业,其核心业务涵盖健展体检管理系统、健康档案管理系统、体检预的平台够多个核心系统。公司以技术创新为驱动,数力于通过智能化的技术手段,优化体检流程,提升体检效率与准确性,为客户提供高质量的健康管理服务。自成立以来,公司快速成长,,已拥有11项自主知识产权,并通过IS09001质量管理体系及IS027001信息安全管理体系认证,展现出强劲的研发实力和市场潜力。公司坚持“以人为本”,注重人力资源的管理和开发,通过持续的技能培训,不断提开团队的整体实力与创新能力。公司现有硕士2名,本科以上学历占员工总人数的85%以上。领导团队人员从事十余年医疗行业,具备资深经验,带领团队在医疗信息化领域成功研发推广交付多个产品,并且整合行业资源赛成友商产品级盖全国多个地区。
软件产品/解决方案名称:
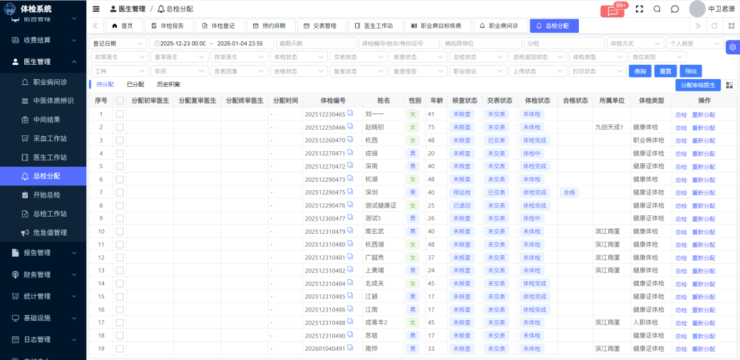
中卫君康职业病体检管理系统V1.0
软件产品/解决方案简介:
中卫君康职业病体检管理系统是一款专为用人单位和职业健康检查机构设计的智能化软件解决方案。系统集体检预约、档案管理、数据采集、结果判定、报告生成及统计分析于一体,全面覆盖《职业病防治法》及相关技术规范要求。通过标准化流程与自动化处理,有效提升体检效率与数据准确性,支持多终端操作与区域协同,助力企业落实职业健康管理主体责任,同时为监管部门提供实时、可追溯的数据支撑,推动职业健康工作数字化、规范化发展。
相关图片:







市场认可度、相关案例或获奖情况:
客户需求导向:中卫君康始终将医院、健康中心及终端用户的实际需求作为产品设计的出发点。深入了解客户痛点,不断优化产品功能,确保每一项服务都能切实满足客户的需求,为客户创造最大价值。
标准化与人性化:在产品研发过程中,严格遵循国内外医疗信息标准,保障数据的准确性和兼容性。同时,注重操作的便捷性和用户体验,使复杂的医疗信息化系统变得简单易用,让医护人员和患者都能轻松上手。
智能化解决方案:运用先进的互联网技术和人工智能算法,为用户提供个性化、智能化的健康管理服务。通过对体检数据的深度分析,实现疾病风险的早期预警和精准干预,为用户的健康保驾护航。
版权所有:天津市数字贸易综合服务平台 备案号:津B2-20080229-9